
发明名称:一种可视医学探针
发 明 人:郭明浩
申 请 号:2022102768725
申 请 日:2022年3月21日
授权公告日:2025年11月11日
合作购买联系方式
联系人:郭明浩 联系电话:13001297968 邮箱:minghaog@sina.com
【摘要】
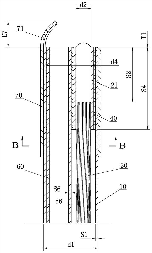
本发明涉及一种可视医学探针,包括探针外管、注射管、探查镜头、导像束、透光镜片和导光束,透光镜片设置在所述探针外管的前端,探查镜头设置在透光镜片上,导光束穿入探针外管连接所述透光镜片,导像束穿入探针外管连接探查镜头。探针外管内设有注射管,注射管的前端插入透光镜片,注射管前端与透光镜片前端面平齐。
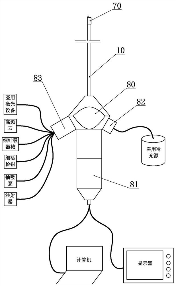
本发明的有益效果是:采用外径细小、可适度弯曲的探针外管,前端设有探查镜头,特别适合于瘘管的探查,采用注射管,可以瘘管內进行药物冲洗,并清洁探查镜头,探针前端的喷溅舌可显著提高瘘管冲洗和清洁镜头的效果,通过注射管还可以对瘘管及内口组织进行活体组织病理检查,并配合医用激光器或高频电刀可以精确地微创治疗肛瘘,本发明显著改进了肛瘘瘘管和其它瘘道的诊断和治疗手段。
【权利要求1】
一种可视医学探针,其特征在于,包括探针外管、注射管、探查镜头、导像束、透光镜片和导光束,所述透光镜片设置在所述探针外管的前端,所述探查镜头设置在所述透光镜片上,所述探查镜头的前端露出所述透光镜片,所述导光束穿入所述探针外管连接所述透光镜片,所述导像束穿入所述探针外管连接所述探查镜头,所述探针外管内设有注射管,所述注射管的前端插入所述透光镜片,注射管前端与透光镜片前端面平齐,
所述透光镜片设有镜头安装孔和注射管安装孔,所述镜头安装孔和注射管安装孔设置在透光镜片中心的两侧,所述探查镜头安装在所述镜头安装孔内,所述注射管的前端安装在所述注射管安装孔内,所述导光束在所述注射管与导像束余留的空间内穿入所述探针外管,所述导光束的前端紧贴透光镜片后端面,
所述探针外管的前端设有头部外套管,所述头部外套管的前端与所述探针外管的前端平齐,所述头部外套管的前端与所述探针外管的前端打磨圆润,所述头部外套管是长度为4.0mm、壁厚为0.1mm的钛合金管,所述头部外套管的前端设有向所述探针外管中心方向弯折的喷溅舌,所述喷溅舌的位置对应于所述注射管的出口,所述喷溅舌的宽度为0.7mm,所述喷溅舌探出所述头部外套管的前端0.8mm。


